Alors que le Surface Book 2 serait repoussé à 2017, Intel ayant pris du retard sur ses derniers processeurs Kaby Lake, on parle de la sortie d’un ordinateur tout-en-un comme l’iMac pour 2016.
La rumeur vient du développeur Indien Shubhan Chemburkar qui, en visite dans le bâtiment 88 à Seattle qui est l’endroit où Microsoft développe ses produits Surface, est tombé sur un tableau montrant les appareils en cours et à venir développés par la division Surface.
On peut clairement voir le Surface Book, ainsi que plusieurs machines mystérieuses prévues pour 2016 et 2017:
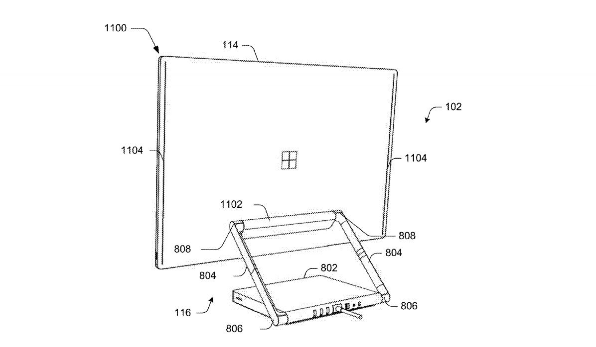
Une Surface tout en un
Microsoft pourrait ajouter une nouvelle alternative à son Surface Book qui prendrait la forme d’un ordinateur tout en un, comme Lenovo ou Apple, les deux leaders dans ce secteur.
Surface oblige, l’écran pourrait être tactile et même se transformer en réelle tablette pour les professionnels comme le montre ce croquis, utilisé pour le dépôt d’un brevet par Microsoft:
Contrairement à l’iMac d’Apple, qui cache tous les connecteurs derrière l’écran, le Surface AIO pourrait, à l’instar des Surface Pro 4 & Surface Book venir avec un dock sur lequel tous les connecteurs seraient: ce qui est bien plus pratique.
Surface Phone
Le Surface Phone fait toujours parler de lui, mais on a du mal à voir ce que Microsoft pourrait apporter de plus que les Lumia 950 & 950 XL ou les meilleurs smartphones de Samsung ou Apple.
Le mode continuum est certe très intéressant, mais malheureusement limité pour l’instant, puisque seules les applications ARM et prévues pour ce mode fonctionnent.
Pendant quelques temps nous aurions pu envisager un smartphone à base de processeur x86, ce qui aurait permis d’exploiter les millions d’applications PC une fois le smartphone branché à un écran, mais l’annonce par Intel de l’abandon pure et simple de ce segment met un terme à cette possibilité.
Surface Book 2
Le successeur du Surface Book 2, qui était à l’origine prévu pour le 3ème trimestre 2016 a semble-t’il était repoussé à 2017, la faute à Intel, qui peine à finaliser sa nouvelle génération de processeurs Core, baptisée Kaby Lake.
Microsoft a donc préféré repousser à 2017 la sortie du successeur de son premier ordinateur portable.
Tout ceci est bien évidemment des rumeurs qui doivent être prises avec des pincettes, et on a hâte qu’elles soient vérifiées…
Vivement la rentrée!
Source: @shubhan3009


Pingback: Microsoft présentera son ordinateur tout-en-un Surface le 26 Octobre - WindowsFun()